軸承安裝方法,往往會對軸承的精度、壽命及性能產生影響?,F有安裝技術中,常用軸承的安裝分為熱裝配法、冷裝配法和手動安裝法,其中手動安裝僅適用于較小軸承的安裝,而冷、熱裝配法則裝配效率相對較低,安裝要求較高,易對軸承的裝配產生影響,降低軸承的使用壽命。
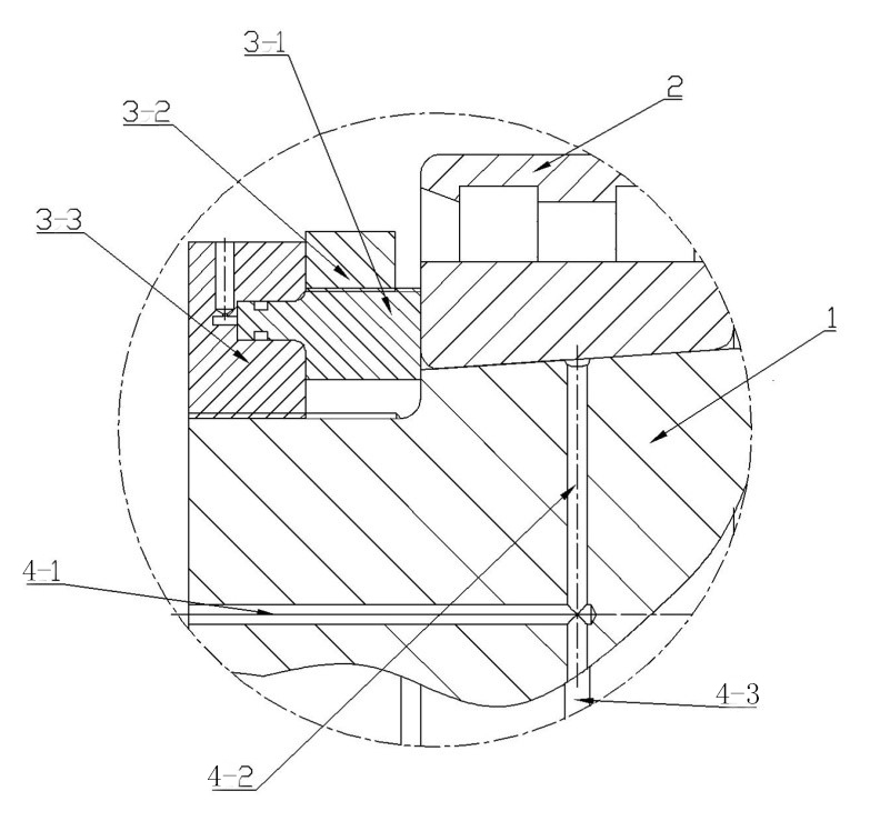
1.軸 2.軸承 3.液壓推進器 4.軸注油孔道
基于上述情況,思進智能發明了液壓擴孔+推進的軸承安裝方法,不僅提高了軸承安裝效率,而且進一步提高了軸承的安裝精度,有效提升了軸承的使用壽命。目前,這一技術已成功申請國家發明專利。
液壓推進器
這是繼思進智能成功申請23項發明專利、57項實用新型專利后的又一項技術革新。思進智能時刻以提升我國冷鐓成形裝備技術水平、推動冷鐓成形工藝發展、實現緊固件及異形件產業升級為己任,致力于研發高端冷鐓成形裝備,立志做中國冷鐓成形裝備行業的佼佼者。








